文書にアクセス/変更を加えたユーザーをイベントログで確認

Aconex内の文書にアクセスした社内のユーザーを簡単に確認できます。

文書をダウンロード、審査、閲覧、更新したユーザーをイベントログで確認。

 

  1. 画面上部のプロジェクトセレクターからプロジェクトを選択します。
  1. 文書をクリックします。
  2. 検索欄の 文書保管箱をクリックします。
  1. フィールドに検索条件を入力します。
  2. 検索 ボタンをクリックします。
  1. 検索結果から確認する文書の行をクリックします。
  2. イベントログを選択します。
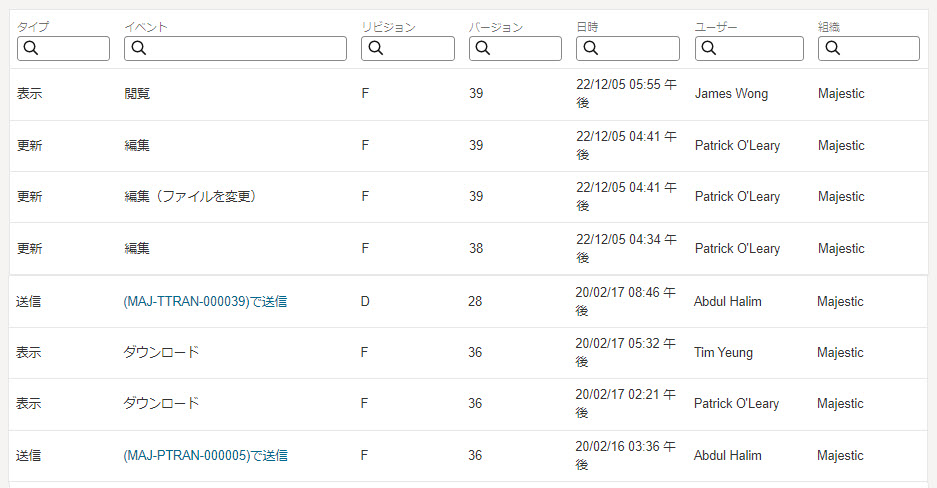
  1. 文書のイベントと実行したユーザー名、組織、リビジョン番号、実行された日時ががすべて表示されます。

役立つ情報・アドバイス

イベントログには、社内のユーザーによって実行された操作・処理のみが表示されます。

イベントの定義

タイプ
イベント
解説
アクセス許可

機密設定の無効化

ユーザーが、このバージョンの文書の「機密事項」の設定を解除しました。注:他のバージョンが「機密事項」になっている可能性があります。
アクセス許可 機密設定の有効化 ユーザーが、このバージョンの文書を「機密事項」に設定しました。アクセスを許可されたユーザーの詳細が表示されます。アクセスを許可された各ユーザーは、別個のイベントとして表示されます。
管理 ロック/ロック解除 ユーザー、またはワークフローやサプライヤー文書提出などのプロセスによって、文書がロック/ロック解除されました。
通知 送付状で受信、更新処理なし(同一バージョンの文書有り)

このバージョンの文書を送付状で受信しましたが、すでに自社の文書保管箱に存在しています。送付状のリンクをクリックすると表示されます。

送信 送信 ユーザーは、このバージョンの文書を他社に送付しました。リンクをクリックすると、送付状が表示されます。通常の送付状、またはワークフローなどのプロセスによって送信される場合があります。
更新

自動アップロード/自動更新

送付状の受信、またはワークフローなどのプロセス中に、文書が自動的にアップロード/更新されました。

注意: このイベントのユーザーは、必ずしも文書を更新した本人とは限りません。同じ日時に記録されたイベントを探して、どのプロセスによって文書が更新されたのかを確認し、関連する送付状を表示することで、送信元を確認できます。イベントログは、自社の目線から詳細が記録されるため、ユーザーの項目には通常、送付状の受信者リストの最上部に表示されたユーザーが表示されます。

更新 編集

文書が更新されました。作成された新しいバージョンになります。

変更された内容の詳細は、括弧内に表示されます。すべての項目の変更に対して変更内容が書き込まれるわけではなく、詳細が表示されない項目の場合は「編集」の文字が表示されます。

復数の変更が、同時に復数のイベントログに記録されている場合があります。

注意: このイベントのユーザーは、必ずしも文書を更新した本人とは限りません。同じ日時に記録されたイベント(自動アップロード/自動更新)を探して、どのプロセスによって文書が更新されたのかを確認し、関連する送付状を表示することで、誰が更新されたバージョンを送信したのかを確認できます。

更新 最新バージョンの文書に戻す 適切な権限を持つユーザーが、文書を最新バージョンに戻しました。同時に新しいバージョンが作成され、「編集」イベントとして表示されます。
更新 アップロード ユーザーがこの文書を登録しました。バージョン1になります。
表示 ダウンロード ユーザーがこのバージョンの文書をダウンロードしました。
表示 プレビュー表示 ユーザーがこのバージョンの文書をプレビュー表示しました。
表示 閲覧 ユーザーがこのバージョンの文書の「プロパティー」/「イベントログ」を閲覧しました。

次のステップ